Opvouwbare smartphone van Samsung moet ook dienst doen als tablet

12 oktober 2018 1 Minuut 0 Reacties
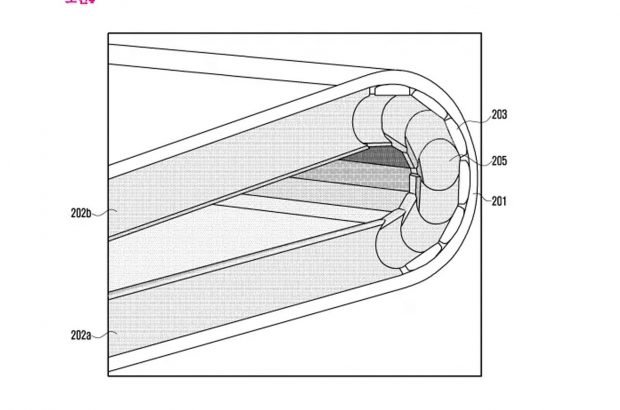
samsung-patent-opvouwbare-smartphone-2

De CEO van Samsung's smartphone business, DJ Koh, heeft in een interview met CNET enkele hints gegeven over de opvouwbare smartphone waar het bedrijf aan werkt. Zo zou het apparaat wanneer deze uitgevouwen is dienst doen als tablet, maar opgevouwen werkt het als een smartphone.

De opvouwbare smartphone zal beschikken over een groot scherm (tablet) aan de binnenkant, met een tweede scherm aan de buitenkant (smartphone). De CEO vertelde dat het apparaat mogelijk wordt onthuld tijdens de ontwikkelaarsconferentie van het bedrijf in november, maar dat het eerst aan hoge standaarden moet voldoen voordat het aangekondigd kan worden.

When we deliver a foldable phone, it has to be really meaningful to our customer. If the user experience is not up to my standard, I don’t want to deliver those kind of products.

Koh benadrukte dat de opvouwbare smartphone meer dan alleen een gimmick moet zijn dat na enkele maanden weer van de radar zou verdwijnen. Daarnaast moet het apparaat wereldwijd op de markt gaan verschijnen.

Wie komt het eerste met een opvouwbare smartphone?

Samsung is niet het enige bedrijf dat werkt aan een opvouwbare telefoon. Huawei wil Samsung te snel af zijn door een eigen opvouwbare smartphone voor het Zuid-Koreaanse bedrijf uit te brengen, terwijl ook LG en Motorola druk bezig is met de ontwikkeling van een dergelijk apparaat.

Reacties (0)