Apple patenteert vingerafdrukscanner onder iPhone-scherm

04 februari 2016 2 Minuten 0 Reacties
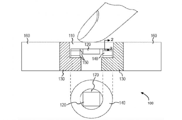
Apple patent homeknop onder scherm

Apple heeft een patent geregistreerd waarin de homeknop van een iPhone of iPad zich niet meer onder de onderkant van het scherm, maar letterlijk onder het scherm bevindt. De vingerafdrukscanner moet door het scherm heen werken.

Vingerafdrukscanner

Kennelijk wil Apple op termijn van de homeknop in de zwarte balk onder het scherm af, zodat het scherm groter kan worden zonder dat de hele telefoon mee moet groeien. De vingerafdrukscanner is onder het glas van het hoofdscherm geplaatst en die werkt nog precies zoals de scanner die nu in de homeknop is verwerkt.

3D Touch

Het valt nog te bezien hoe Apple alle homeknopfuncties naar de nieuwe plek onder het glas overbrengt. Waarschijnlijk gaat 3D Touch hier een rol bij spelen, het drukgevoelige scherm van de iPhone 6S Plus dat ongetwijfeld verder ontwikkeld zal worden in toekomstige iPhones en wellicht iPads.

Homeknop

De homeknop doet nu verschillende dingen. Als de iPhone in sluimerstand staat, maakt een druk op de homeknop het toestel wakker. Als het toestel aan staat, wordt de app op het scherm naar de achtergrond gedwongen en komt het homescreen van de iPhone weer in beeld. Twee snelle drukjes achter elkaar brengt alle actieve, of laatst geopende apps in beeld. Ook kan Siri met de homeknop worden geactiveerd, en er zijn zo nog enkele functies van deze fysieke homeknop.

Touchbutton

Hoe dat straks moet als de hele homeknop zich vrij onzichtbaar als touchbutton onder het schermglas bevindt, wordt uit het ingediende patent niet duidelijk. Apple registreert jaarlijks honderden patenten waarvan er velen niet worden gebruikt, of pas over jaren. Sommige patenten echter wel, dus het is afwachten hoe dat met dit patent gaat.

Saffierglas

In ieder geval lijkt een homeknop onder het scherm op een ander gebied vreugdevol voor iPhone-liefhebbers. De homeknop is nu, naast de camera, het enige deel van de iPhone dat met het superstevige saffierglas is bedekt. Mocht Apple de homeknop naar zijn nieuwe plek onder het schermglas brengen, dan lijkt het logisch dat het hele scherm straks van saffierglas wordt voorzien.

Reacties (0)