Apple krijgt patent voor gebogen en randloos scherm in handen

17 mei 2017 1 Minuut 0 Reacties
apple-patent-gebogen-scherm

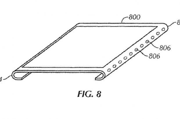
Apple heeft twee patenten toegewezen gekregen: een van die patenten beschrijft een gebogen scherm, zonder dikke randen. De andere laat zien dat Apple nadenkt over een geïntegreerde vingerafdrukscanner in de display.

Twee nieuwe patenten voor Apple die te maken hebben met het scherm

Apple heeft sinds deze week twee patenten in handen. Deze patenten zijn met name interessant in de context van de aanhoudende geruchten over de iPhone 8, waar al een hoop over is geschreven. Zo zou die nieuwe iPhone een randloos scherm krijgen, met schermranden die over de zijkanten doorlopen en een geïntegreerde vingerafdruklezer. Dit zijn ook meteen de twee patenten die het bedrijf in Cupertino in handen gekregen heeft. Dat schrijft Patently Apple. Apple lijkt de ideeën dus in elk geval te onderzoeken in dit stadium.

Het kan dus zijn dat Apple deze aspecten wil gebruiken voor het scherm van de iPhone 8, maar het kan ook zijn dat een later model zulke eigenschappen krijgt. En dan hebben we nog een derde optie: Apple die alvast ideeën vastlegt, zodat andere bedrijven er niet mee aan de haal gaan. Het zou dus ook zomaar kunnen dat deze patenten nooit werkelijkheid worden. Maar in het licht van die geruchten, is het toch op z’n minst opmerkelijk te noemen dat dergelijke patenten opduiken. Apple heeft zelf nog niets bevestigd of bekendgemaakt.

Reacties (0)