Apple legt patent op 3D projector zonder 3D bril

02 december 2010 1 Minuut 4 Reacties
apple-patent

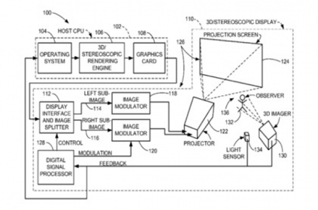
Apple heeft patent laten leggen op een nieuw autostereoscopisch 3D display systeem dat kijkers beelden in 3D kan tonen ongeacht waar ze zitten. Dit nieuwe patent van Apple doet ons denken dat Steve en consorten graag innovators en marktleiders willen zijn in de beweging naar 3D entertainment.

Het patent laat zien dat meerdere kijkers hoogwaardige 3D content op een scherm kunnen bekijken zonder het gebruik van een 3D bril. Het patent beschrijft dat door het gebruik van een reflectief scherm met een gegolfde textuur een autostereoscopisch systeem gecreëerd kan worden. Verschillende beelden worden dan naar elk oog gestuurd voor een 3D ervaring zonder het gebruik van een bril.

3D TV zonder bril

Wellicht dat deze techniek van Apple de doorbraak naar 3D TV zonder bril waar gaat maken. Veel consumenten twijfelen namelijk over de aankoop van een 3D TV door de ‘onhandige, vervelende en dure’ 3D bril.

Reacties (4)