Apple heeft patent in handen voor opvouwbare iPhone

04 november 2016 1 Minuut 0 Reacties
apple-patent-opvouwbare-iphone

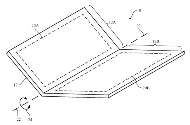
Apple heeft een patent in handen gekregen voor een opvouwbare iPhone. Maar of de iPhone 8 opvouwbaar wordt, is onwaarschijnlijk. Dit prototype maakt gebruik van koolstof nanobuizen die gebruikers in staat stellen de smartphone te buigen.

Opvouwbare iPhone voor 2017 lijkt onwaarschijnlijk

Er is een patent opgedoken van Apple waarin we een opvouwbare iPhone tegenkomen. Desondanks lijkt het onwaarschijnlijk dat het bedrijf een dergelijk product op de markt brengt in 2017, aangezien veel bedrijven patenten laten vastleggen zodat andere bedrijven daar niet mee aan de haal kunnen. In het patent van dit opvouwbare product is te lezen dat het bedrijf uit Cupertino gebruik wil maken van koolstof nanobuizen, waarmee het opvouwen mogelijk wordt. De smartphone zou als een clamshell kunnen worden opgevangen.

Een clamshell mobiele telefoon is voorzien van een klepmechanisme. De telefoon moet dus geopend worden indien men hem wenst te gebruiken. De verwachting is dat Apple de interne componenten mee laat bewegen of ook opvouwbaar maakt, zodat dit design gerealiseerd kan worden. Er is veel te doen rondom opvouwbare smartphones en tablets. Onder andere Samsung zou aan een dergelijk design werken. Ook Lenovo heeft onlangs laten zien wat het in huis heeft. Wanneer de producten op de markt komen, is helaas onbekend.

Reacties (0)